内径千分尺测量及读数方法
内径千分尺测量及读数方法
内径千分尺测量及读数方法
内径千分尺:主要用于测量轴承套的内圆、无独立轴承套的端盖的内圆。
结构简图
操作方法及注意事项
操作方法及注意事项
内径千分尺的正确使用:
(1)使用前要校对零位(测量下限尺寸)。
(2)由于内径千分尺没有控制测量力的机构,故在测量时,要凭手感控制测量力,以两测头与被测表面刚好接触为准。
(3)当被测尺寸较大,要选用多节接长杆,接长杆的数目越少越好,以减少积累误差。
(4)使用测量下限为75或100mm的内径千分尺时,被测表面的曲率半径不小于40或50mm,否则球面测头的顶点不能与被测面接触(测头球面边缘接触)而产生测量误差。
(5)测量较大的尺寸时,应注意内径千分尺的支撑或握持位置。尺身水平使用时,应支撑或握持在艾利点上,即两支撑点距内径千分尺两端约2/9L处(L为尺身全长)。这样可以使尺身自重产生的变形最小。
(6)使用完毕后,应清洗干净,放在专用的木盒内。
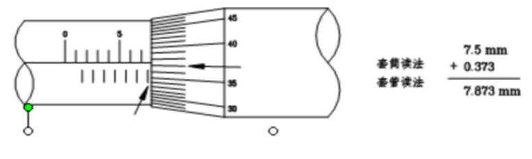
内径千分尺读数
〈1〉 首先读出副轴边缘在主轴上的刻度。
在下图中,由于其边缘在主轴上处于5和5.5之间,所以主轴刻度是5mm.
〈2〉读取和主轴刻度基线重合的副轴刻度。
在下图中,主轴刻度基线对齐到副轴上的46和47之间位置,因此副轴刻度是0.465mm。
〈3〉把〈1〉和〈2〉的结果相加,就得到(最终)测量值。
在下图中,其测量值是5+0.465=5.465mm
内径千分尺被侧尺寸=连接杆尺寸+测量值(5+0.465=5.465mm)
千分尺的维护保养
1)不能手握千分尺的微分筒任意摇动,以防丝杠过快磨损和损伤;使用完毕的千分尺应将其表面擦拭干净,将千分尺的两测量面互相错开一些,然后放回盒子里,并置于抽屉内防止掉失或阴凉、干燥处。
2)要防止千分尺受到撞击或脏物侵入到测量螺杆内造成不灵,比如千分尺测微螺杆常不擦干净,容易被腐蚀生锈,这样不能用强力继续旋转。
3)千分尺使用时绝对避免将其掉落在地上以免千分尺失效,切勿用手直接接触测微螺杆与测头两测量面,避免留下指纹引起生锈及测量误差。
4)要定期清洗测微螺杆上的精密螺纹,将精密螺纹上的污垢擦洗干净之后,涂上防锈油,将各部件装配好之后,将它放入尺盒中。
欢迎留言交流。
-
- 流动资产包括哪些?
-
2023-12-09 05:39:30
-
- 高铁出行看过来,聊聊上车补票那些事
-
2023-12-09 05:37:25
-
- 全国书法等级考试到底有用吗
-
2023-12-09 05:35:20
-
- 抗日时期中国武器装备:手榴弹
-
2023-12-09 05:33:15
-
- “国子监”你可能念错了!到底哪里出问题了
-
2023-12-09 04:43:24
-
- 太阳金字塔坐落在哪里,揭示太阳金字塔未解之谜
-
2023-12-09 04:41:19
-
- 山西戏曲人物之上党落子艺术家郭明娥
-
2023-12-09 04:39:14
-
- 盘点:老戏骨(计春华)八大经典角色,你都看过哪些呢?
-
2023-12-09 04:37:09
-
- 经典高干文!4本高质量青梅竹马,一个大院长大,两小无嫌猜
-
2023-12-09 04:35:04
-
- 基本护肤的5正确步骤,小白护肤必须知道的步骤
-
2023-12-09 04:32:59
-
- 国四车什么时候会强制报废?
-
2023-12-09 04:30:54
-
- 道教三十六重天,玉帝只掌管三十三重以下,上面几重归谁管?
-
2023-12-09 04:28:49
-
- 被臭虫叮咬是一种什么样的感受,广大网友告诉你事实真相
-
2023-12-09 04:26:44
-
- DNF更新在即,帝国竞技场即将上线,这些小知识你都需要了解一下
-
2023-12-09 04:24:39
-
- 中国著名十大音乐家,第一个你一定从小就认识!
-
2023-12-08 22:22:24
-
- 中国军队的第14集团军,战斗力很强悍,到底拥有多少兵力?
-
2023-12-08 22:20:19
-
- 早在《聪明的顺溜》之前,就有一部军旅动画叫《三毛从军记》
-
2023-12-08 22:18:14
-
- 雪莉、秀智、惠利、世勋、田柾国、李泰容......还有这样的缘分
-
2023-12-08 22:16:09
-
- 王思聪开保时捷918被超跑俱乐部所拒:不好意思不够格
-
2023-12-08 22:14:04
-
- 同为1799元,骁龙660+6G和麒麟960+4G,机智的你会如何选择?
-
2023-12-08 22:11:59