赵丽颖官宣刷屏!年收过亿,挣钱能力超三成豫股
赵丽颖官宣刷屏!年收过亿,挣钱能力超三成豫股
大河报·大河财立方记者 陈玉尧
今日微博最热,莫过于赵丽颖和冯绍峰的“官宣”了。两人婚讯除了收获满满祝福,也引得众人感叹,两人不仅郎才女貌,从资产角度看,更是门当户对啊!大河财立方-中原地区最具影响力财经全媒体平台←戳我下载
| “小骨”去年收入超1亿,净利超三成河南上市公司
10月16日,赵丽颖迎来了31岁的生日,同时也在微博上大撒狗粮,正式宣布与冯绍峰结婚喜讯。两人婚讯瞬间引爆舆论,微博一时宕机。
粉丝和路人在震惊之余,也纷纷献上了祝福。有的粉丝不禁猜测,“小骨”会带着多少“嫁妆”入主冯叔家呢?
据界面、今日头条等三家媒体联合发布的《2017中国名人收入排行榜》显示,赵丽颖2017年收入1.048亿元。
这样的收入水平放在上市公司高管中如何?
A股上市公司董事长薪酬Top8
数据来源:Wind
数据显示,2017年,上市公司董事长薪酬最高的是刚刚上市的迈瑞医疗董事长李西廷,2017年薪酬1933万元。排名前八的董事长薪酬合计1.0038亿元,仍不及赵丽颖1.048亿元的收入水平,这其中包含了中国平安、万科、伊利股份等行业巨头。
不仅远超上市公司高管薪酬,即便与上市公司相比,赵丽颖的收入水平也毫不逊色。
据Wind数据显示,2017年共有51家A股上市公司营业收入不及1.048亿元,被赵丽颖甩在身后。
如果从净利来看,赵丽颖的盈利能力更是超过了大批上市公司。
按照我国税法,个人所得税税率最高为45%,如果通过影视工作室的话税率还要低些,即使考虑到雇佣经纪人等工作室运营开支,赵丽颖总收入至少有一半5240万元可以计入净利润。而同期,A股市场有884家上市公司归母净利润不足5240万元,占沪深两市上市公司总数的24.88%。也就是说近四分之一的A股上市公司盈利能力不及赵丽颖。
在79家河南上市公司中,赵丽颖的盈利能力超过了隆华科技、光力科技等23只豫股(占比29%),位居第56位豫能控股之后。
那么,如果是在同等营收规模下,赵丽颖的盈利能力与上市公司相比又如何?
对此,大河报·大河财立方记者选取了10家与赵丽颖营收规模相当的上市公司进行对比。
2017年营收1亿元左右的上市公司盈利情况
数据显示,在这10家营收1亿元附近的上市公司中,ST运盛的净利润最高,为4300万元,净利率达38.29%,较之此前假设的赵丽颖50%的净利率、5240万元的净利润仍有不如。
| 赵丽颖牵手冯绍峰 = 两家上市公司合并?
拿赵丽颖和上市公司对比一点都没问题,因为赵丽颖本身就是一家“集团控股公司”。
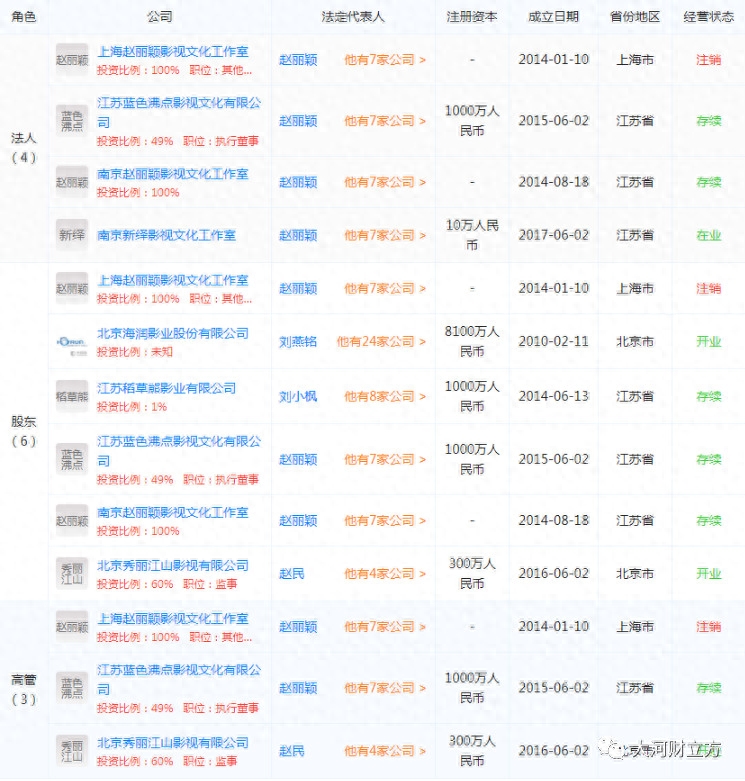
据天眼查数据,赵丽颖在4家公司担任法人,在6家公司担任股东,在3家公司担任高管,包括北京海润影业股份有限公司、江苏蓝色沸点影视文化有限公司、北京秀丽江山影视有限公司等。其中多家公司持股比例超过50%,拥有实际控制权,而这些公司全部都是影视企业。
值得注意的是, 2015年4月16日,诸暨临润投资咨询有限公司与赵丽颖签署《股权转让协议》,将诸暨临润投资咨询有限公司持有的90万元海润影视的出资转让给赵丽颖。此后,2015年9月28日海润影视召开第一次股东大会,全体发起人一致同意公司整体变更设立股份公司,赵丽颖出资额变为141.872万元,占注册资本总额的1.77%。2016年4月份海润影业成功挂牌新三板,“小骨”本次股权投资赚得盆满钵满。
赵丽颖相关公司情况
与赵丽颖相比,冯绍峰入股乐视影视则亏损了数百万元。
据媒体报道,2015年9月,冯绍峰以1000万元认缴了119.97万元乐视影业注册资本,持股0.14%。
2016年5月,乐视网拟收购乐视影业100%的股权,后者当时的估值高达98亿元,冯绍峰可以得到的交易对价为1405.32万元。
但此后贾跃亭的乐视帝国开始坍塌。2017年1月融创中国收购部分乐视影业股权时,乐视影业的估值为70亿元,而到了2018年9月22日乐视影业被拍卖时,估值仅剩24.39亿元。从98亿元到24亿元,乐视影业的估值在短短2年多的时间里跌去了75%。
按照乐视影业最后的估值来计算,冯绍峰的投资价值仅剩341.46万元,比起出资额缩水65.85%。
看来,“小骨”的投资理财能力更胜一筹。
不过,冯绍峰名下的公司并不比赵丽颖少。天眼查数据显示,冯绍峰(本名 冯威)担任5家公司法人,在7家公司担任股东,在3家公司任高管。这其中包含了上海东威影视有限公司、浙江东阳浩瀚影视娱乐有限公司等。
冯绍峰相关公司情况
以注册资本计,这些与赵丽颖、冯绍峰相关的企业总注册资本接近10亿元。难怪有人说,从资产角度看,两人牵手更像是两家上市公司合并。
End
-
- 特务、暗杀、窃密、间谍、国安局,黄海波邓超王志文演绎现代谍战
-
2023-12-19 10:18:46
-
- 农村所说的撞客是怎么回事?用鸡蛋就能破解吗?
-
2023-12-19 10:16:40
-
- 你知道新茶与陈茶的区别在哪里吗?掌握这五点,买茶不用怕
-
2023-12-19 10:14:34
-
- 路边草丛藏十几万 盗窃罪最高可获10年或无期徒刑
-
2023-12-19 10:12:28
-
- 柯南剧中的贝尔摩德,她的能力可不只是易容变装那么简单
-
2023-12-19 10:10:22
-
- 国内车展十大性感美女车模排行榜,最性感车模排名
-
2023-12-19 10:08:16
-
- 谁的1句话让吴宗宪访问不下去?Lulu第一次看到他不知如何是好?
-
2023-12-19 04:17:42
-
- 我和女神们的荒岛余生-史宇天-著
-
2023-12-18 19:05:01
-
- 俗称“花蚊子”,比普通蚊子更毒,白天隔着衣服咬人,它从哪来?
-
2023-12-18 19:02:55
-
- 如何更好的完成杠铃提拉?记住这5点,避免潜在的肩峰撞击可能
-
2023-12-18 19:00:49
-
- 马增玉:率领辽宁五年四冠的“中国女科比”,嫁给少校组幸福家庭
-
2023-12-18 18:58:43
-
- 口罩上的“3M”到底是什么?
-
2023-12-18 18:56:37
-
- 韩娱资讯快报:新概念“沉默”综艺上线
-
2023-12-18 18:54:31
-
- 国外最火的APP Instagram到底是什么来头?
-
2023-12-18 18:52:25
-
- 多款“无添加”宝宝湿巾检出防腐剂,启初、心相印等被央视曝光
-
2023-12-18 18:50:19
-
- 从没放弃的中华故土,“小西藏”拉达克,被印度占领74年
-
2023-12-18 18:48:13
-
- 十大元帅的最终归宿,3人在北京八宝山,1人长眠异国他乡
-
2023-12-18 18:46:07
-
- 发烧了怎么办?
-
2023-12-18 17:29:17
-
- 白花蛇舌草功效与作用(有多种抗癌成分)
-
2023-12-18 17:27:12
-
- 中国舞是什么舞蹈 为什么学舞蹈要从中国舞开始?它的魅力在于……
-
2023-12-18 17:25:07